Найти электрическую схему тальки тельфера



Найти электрическую схему тальки тельфера
Электрические тали. Назначение и устройство электрических талей
Найти электрическую схему тальки тельфера
Ответы Mail.ru: Помогите понять процесс схемы
Найти электрическую схему тальки тельфера
Электрооборудование для тельфера- купить от завода Атлант
Найти электрическую схему тальки тельфера
Электрооборудование и схемы электрических талей
Найти электрическую схему тальки тельфера
Помогите подключить лебёдку 380

Найти электрическую схему тальки тельфера
Электрооборудование и схемы электрических талей
Найти электрическую схему тальки тельфера
ЭЛЕКТРООБОРУДОВАНИЕ - 4. ЭЛЕКТРИЧЕСКИЕ СХЕМЫ КРАНОВ - 23 - читать Дельта Авто
Найти электрическую схему тальки тельфера
Ответы Mail.ru: КАК РАБОТАЕТ ЭТА СХЕМА
Найти электрическую схему тальки тельфера
Управление тельфером - CormanStroy.ru
Найти электрическую схему тальки тельфера
Ответы Mail.ru: Такая тема пойдет для пуска асинхронного двигателя?
Найти электрическую схему тальки тельфера
Схема подключения кабельной тележки 380 - услуги электромонтажа, строительства и
Найти электрическую схему тальки тельфера
Таль электрическая грузоподъемностью 0,5 тонн " Портал инженера
Найти электрическую схему тальки тельфера
Схема тельфера с концевиком
Найти электрическую схему тальки тельфера
Таль электрическая грузоподъемностью 0,5 тонн " Портал инженера
Найти электрическую схему тальки тельфера
Таль электрическая канатная передвижная CD г/п 10 т, в/п 12 м (тельфер)
Найти электрическую схему тальки тельфера
Инструкция по эксплуатации электротали тельфера управляемого с пола - 83 фото по
Найти электрическую схему тальки тельфера
Мостовые краны и крановые компоненты
Найти электрическую схему тальки тельфера
ЭЛЕКТРООБОРУДОВАНИЕ И ЭЛЕКТРОСНАБЖЕНИЕ ПОДЪЕМНО-ТРАНСПОРТНЫХ УСТАНОВОК, Электроо
Найти электрическую схему тальки тельфера
Электрическая принципиальная схема тали
Найти электрическую схему тальки тельфера
Подключение кран балки 380 вольт с пультом на 6 кнопок схема подключения
Найти электрическую схему тальки тельфера
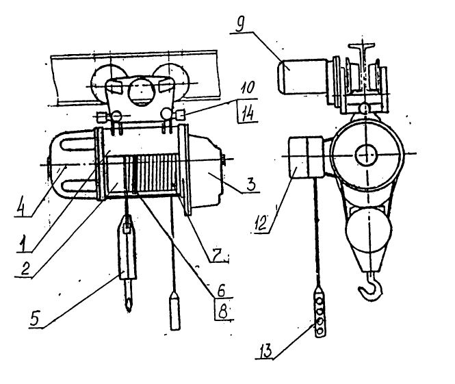
Кинематическая схема тельфера
Найти электрическую схему тальки тельфера
Паспорт Таль электрическая цепная модель HHBD* (наименование тали) HHBD-T/HHBD (
Найти электрическую схему тальки тельфера
Ответы Mail.ru: КАК РАБОТАЕТ ЭТА СХЕМА
Найти электрическую схему тальки тельфера
Монтажная схема тельфера трехфазного
Найти электрическую схему тальки тельфера
Таль электрическая WATT SHZ-250/500 (22.900.500.00) - Multiservice
Найти электрическую схему тальки тельфера
Схема тельфера с концевиком
Найти электрическую схему тальки тельфера
Мостовые краны и крановые компоненты
Найти электрическую схему тальки тельфера
ТЭ 0,25 таль электрическая грузоподъемностью 0,25т, г. Полевской. Паспорт, 1989г
Найти электрическую схему тальки тельфера
Электротельфер чертеж фото Shkola-2.ru
Найти электрическую схему тальки тельфера
Электическая таль 10т купить Цена 280 000 руб.
Найти электрическую схему тальки тельфера
Электическая таль 10т купить Цена 280 000 руб.
Найти электрическую схему тальки тельфера
Габаритные чертежи: тельфер электрический Болгария 8т (Т10)
Найти электрическую схему тальки тельфера
Кинематическая схема тали электрической
Найти электрическую схему тальки тельфера
Ответы Mail.ru: помогите мне нужна эл. схема управления консольного крана 2 кноп
Найти электрическую схему тальки тельфера
Таль электрическая 1т - цена, купить в Украине
Найти электрическую схему тальки тельфера
Электрические лебедки, Электрическая таль (тельфер), Кран-балка - ЭЛЕКТРИЧЕСКИЙ
Найти электрическую схему тальки тельфера
Схема тельфера
Найти электрическую схему тальки тельфера
Домкраты, лебедки и тали
Найти электрическую схему тальки тельфера
Схема подключения тельфера на питание 380: Как подключить тельфер 380 - Строител
Найти электрическую схему тальки тельфера
Тельфер электрический: назнчение, устройство, классификация