Смотреть видео: Винт в разрезе на чертеже

Инженерная графика Лекции Разъемные соединения. Продолжение. CADInstructor
Ответы Mail.ru: Инженерная графика
Лабораторные работы
2.6. Упрощенное изображение резьбовых соединений
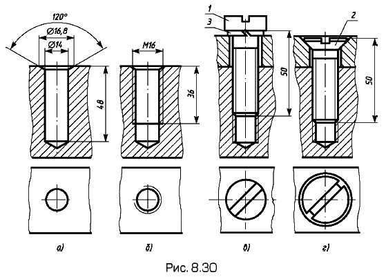
Соединение деталей винтом
Винтовое соединение на чертеже - Basanova.ru
Практикум Инженерная графика
1.6. Соединение винтом
3101 стр 1-31 - Стр 3
22. Основные виды разъемных соединений
Соединение деталей болтами, винтами и шпильками
Чертеж соединения шпилькой дан на рисунке 193, б - Студопедия.Нет
Курсовой проект
6. Резьбовые соединения. Сборочный чертеж
Соединения винтами
Установочный винт на чертеже - Basanova.ru
Bolt (fastener)
Изображение резьбового соединения на чертеже фото и видео - avRussia.ru
Изображение винтового соединения на чертеже
Перейти на страницу с картинкой
Резьбовые соединения деталей
Обозначение на чертеже болтового соединения фото и видео - avRussia.ru
Пин от пользователя ovidio на доске Tutoriales solidworks в 2024 г Архитектурный
Соединение винт гайка чертеж
Токарная обработка ЧПУ - изготовить винты ООО "ИЗГОТОВИЛ.РУ"
Соединение шпилькой - Чертежи, 3D Модели, Проекты, Начертательная геометрия и Ин
Разрезы и сечения - презентация, доклад, проект скачать
vindeltrappe Interior architecture drawing, Architecture design sketch, Interior
Болт высокопрочный ГОСТ 52644 Б/П 10,9ХЛ M24x180 купить оптом fischer-market
Винт 2М2.5-6gх10.48.016 ГОСТ 17473-80 - купить в интернет-магазине по низкой цен
Разрыв детали на чертеже - Basanova.ru
Чертеж резьбовых соединений. Спецификация в Компас 3d
6. Резьбовые соединения. Сборочный чертеж
Методические рекомендации по изучению темы "Параллельное и ортогональное проекти
Болт в разрезе
На чертеже показано соединение деталей - TouristMaps.ru
Разрез винта
Винты ГОСТ 11738-84 - купить в России - в наличии на нашем складе
Фото ФАСКИ НА СБОРОЧНОМ ЧЕРТЕЖЕ
Технология создания геометрической модели соединения шпилькой, Определение основ