Смотреть видео: Устройство кулисы нива шевроле схема

Устранение дребезга ручки КПП - Chevrolet Niva, 1,7 л, 2013 года тюнинг DRIVE2
Нива Шивроле механизм выбора передач .№ 6 чехол корпуса переднего шарнира; - DRI
Электричество
Привод механизма выбора передач Chevrolet Niva 1.7 (Чертеж № 129: список деталей
Купить по выгодной цене рычаги переключения к КПП ВАЗ 21230 Нива Шевроле.
Установка привода управления механизмом переключения передач ВАЗ 2123 (2123 "Шев
Рычаг управления раздаточной коробкой Chevrolet Niva 1.7 (Чертеж № 138: список д
Нужна помощь по коробке! - Chevrolet Niva, 1,7 л, 2003 года поломка DRIVE2
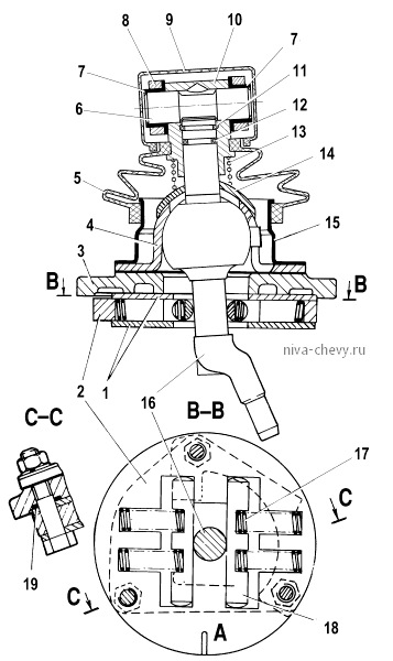
Корпус механизма переключения передач ВАЗ-2123 (Чертеж № 100: список деталей, ст
Ремонт привода механизма переключения передач (кулиса) Нива Шевроле - Niva Chevr
Замена механизма переключения передач. - Chevrolet Niva, 1,6 л, 2003 года своими
Проверка механической коробки (МКПП) и сцепления перед покупкой машины. - Сообще
Привод управления механизмом переключения передач ВАЗ 2123 Chevrolet Niva
Привод механизма выбора передач ВАЗ 2123 Niva Travel (2123 Niva Travel (Classic,
227110. Механизм выбора передач (деталировка) LADA 21214 (Чертеж № 66: список де
Купить Установка привода управления механизмом переключения передач для ВАЗ Chev
Привод механизма переключения передач ВАЗ-2123 (Чертеж № 99: список деталей, сто
Опять или снова. - Chevrolet Niva, 1,8 л, 2005 года поломка DRIVE2
Механизм переключения передач нива шевроле схема LkbAuto.ru
Привод механизма переключения передач ВАЗ-21213-214i (NIVA) (Чертеж № 157: списо
Устройство кулисы кпп
Нива шевроле регулировка кулисы * Смоленский форум * SmolShopMarket.ru
Кпп нива устройство схема
Кулиса кпп нива шевроле схема
ЧЕХОЛ (ПЫЛЬНИК) КПП РЫЧАГА (НАРУЖН.) В-2123 2123-1703101 / 21230170310100, БРТ -
Механизм переключения передач нива шевроле схема Kaptur-Russia.ru
Механизм выбора передач ВАЗ 2123 (Шевроле-Нива)
Шевроле нива раздатка инструкция по применению - Все инструкции и руководства по
Купить по выгодной цене рычаги переключения к КПП ВАЗ 2121, 21213, 21214, 2131 Н
Заряжаем АКБ правильно - умное зарядное устройство CARDALE - Chevrolet Niva GLX,
Рычаг управления раздаточной коробкой ВАЗ-2123 (Чертеж № 105: список деталей, ст
замена кулисы из салона - Chevrolet Niva, 1,7 л, 2005 года своими руками DRIVE2
Перенос рычага КПП Часть 1 - Lada 210740, 1,8 л, 2008 года тюнинг DRIVE2
B230. Привод механизма переключения передач LADA 4x4 (Чертеж № 111: список детал
Устройство переднего моста нива шевроле схема - фото
Купить Кулиса переключения передач ВАЗ 2123 салонная (в сборе) Интернет магазин
Рычаг управления раздаточной коробкой ВАЗ 2123 (2123 "Шевроле-Нива") купить в Ка
Привод управления раздаточной коробкой ВАЗ-2131 (NIVA) (Чертеж № 165: список дет
Рычаг управления раздаточной коробкой ВАЗ 2123 (2123 "Шевроле-Нива") купить в Ка
Перенос рукоятки КПП - Lada 2107, 1,6 л, 2003 года тюнинг DRIVE2