Смотреть видео: Тда 7253 схема усилителя

Red-Resistor.ru - Усилитель на TDA7253
TDA7253 Audio IC parameters, equivalents, app notes and cross reference (Pag. 1/
Схема включения TDA7253
TDA7255 - Усилители - Схемы - Каталог статей - Технический сайт IT-Explain
Усилитель из помойки, на TDA7253 от телевизора - YouTube
Tda7052a схема включения
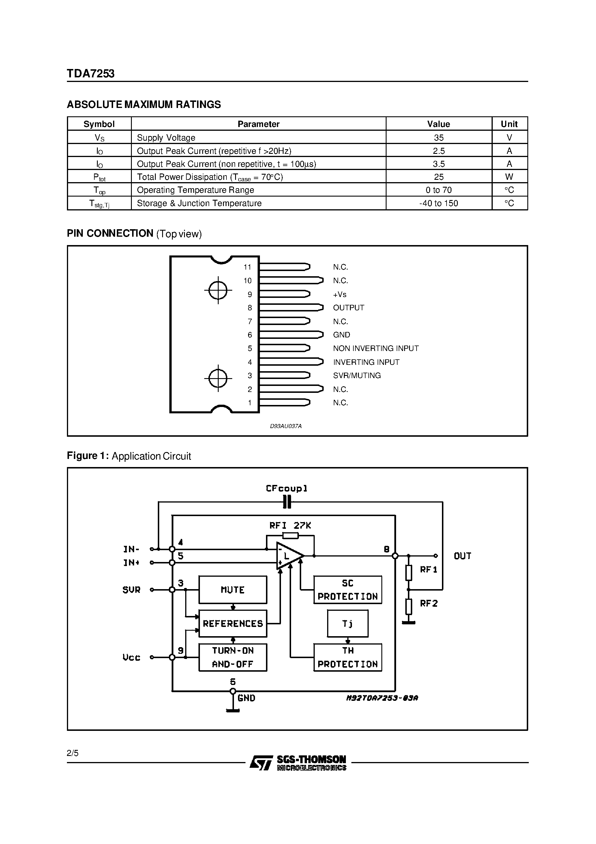
TDA7253 - Усилители - Схемы - Каталог статей - Технический сайт IT-Explain
Ультразвуковая допплеровская диагностика в клинике секрет
TDA7253L даташит STMicroelectronics техническое описание радиодетали, описание н
TDA7263 datasheet
TDA7253, микросхема УНЧ - купить в Красноярске. Состояние: Новое. Микросхемы на
Amplificador de viruta TDA7294: descripción, hoja de datos y ejemplos de uso. Am
Усилитель своими руками (DIY). Часть 4, мощные двухканальные (стереофонические)
В чем разница? И какую лучше из них собрать? 2017 Радиолюбители, электроника - П
Аналоги и схемы включения серии TDA
Лучшие микросхемы для унч: Три схемы УНЧ для новичков - Производство и поставка
44w stereo audio amplifier circuit using tda1553 - Soldering Mind
双 声 道 音 频 功 率 放 大 器 TDA7253 - 家 电 维 修 资 料 网
TDA7253 Datasheet ST Microelectronics pdf data sheet FREE from www.radioradar.ne
Схема усилителя tda7052a - 21 Января 2024
Ответы Mail.ru: Напишите пожалуйста список компонентов входящих в эту схему
60 W HI-FI DUAL AUDIO DRIVER Audio Amplifier Circuits
Rcl radio - найдено 86 картинок
Микросхема tda2005 фото
схема усилителя звука изготовленного своими руками Усилитель, Усилители звука, П
Ответы Mail.ru: я собрал тда7265 но есть шум ,,,как подключения схема ? +-,земля
Микросхема TDA1558 - подключение и схема в быту
Ответы Mail.ru: Зачем автор схемы усилителя добавил конденсатор С4 и можно ли об
Tda7253 схема усилителя
Транзисторный усилитель класса а своими руками. Мощный и качественный самодельны