Смотреть видео: Структурная схема маршрутизатора для диплома

дипломная работа: Анализ гидроакустических сетей
Структура интерфейсов, мостов, VLAN-ов - Home Network Community
Логический метод маршрутизации, Структурная схема маршрутизатора, реализующего л
НОУ ИНТУИТ Algorithms and Protocols Сhannels and Data Networks. Лекция 16: Сети
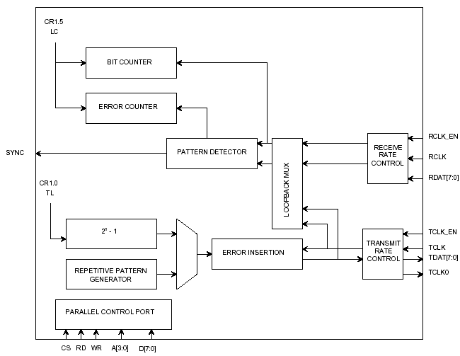
Файл:Устройство маршрутизатора.JPG - Вики ИТ мехмата ЮФУ
Программируемые логические устройства компании LATTICE/VANTIS
Структурная схема маршрутизатора
Структурная схема маршрутизатора - Основные требования к построению сетей связи
Разработка 3D фотон-электронной матричной нейросетевой реконфигурируемой платфор
Многофункциональные устройства коммутации
Index of /im/Dallas/te
Преобразователь двунаправленный сигналов 3G/HD/SD SDI = HDMI. PN-MIS-020
Анализ современных методов маршрутизации
Описание функционирования технологии mpls
PPT - Сети с техникой виртуальных каналов: X.25 Frame Relay ATM PowerPoint Prese
ЛЕКЦИЯ Маршрутизаторы Общие понятия Рассматриваемые вопросы
Маршрутизатор (Router)
Распределённая сеть технического мониторинга подвижного состава. Курсовая работа
Пишу диплом. Нужна помощь - Самые разные темы - Не про работу - Форум об интерне
Анализ современных методов маршрутизации
Курсовая работа - Цифровые системы телеизмерения - Чертежи.РУ
ЛЕКЦИЯ Маршрутизаторы Общие понятия Рассматриваемые вопросы
NFC-Powered Sweat Biosensor for Glucose and Lactate - Technical Articles
MikroTik LtAP купить, характеристики MikroTik LtAP, Wi-Fi оборудование MikroTik
Разработка структурной схемы сети, Выбор сетевого оборудования, Выбор активного
Перейти на страницу с картинкой
Дипломный проект презентация, доклад
Теория и средства передачи данных (Модуль 4. Сетевые технологии)
Уличная камера наблюдения: vladikoms - ЖЖ
Перечень недокументированных команд Cisco IOS для bgp-перехвата
Уличная камера наблюдения: vladikoms - ЖЖ
Index of /public/docs/admin/networks/general/ksptp_oo/pic
Перечень недокументированных команд Cisco IOS для bgp-перехвата
Структурная схема роутера
"Структурная схема роутера"
Электрическая структурная схема: Схемы электрические структурные Лаборатория Эле
SKS-compleks, telecommunication equipment, City of Kazan, Orenburgskiy trakt, 20
Учим основы - что такое VLAN?
Маршрутизатор MIKROTIK CCR1009-7G-1C-PC - купить в интернет-магазине по низкой ц
Разработка и внедрение комплекса мероприятий по обеспечению информационной безоп