Смотреть видео: Стойки из трубы квадратного сечения чертеж

Чертеж металлической колонны: найдено 73 изображений
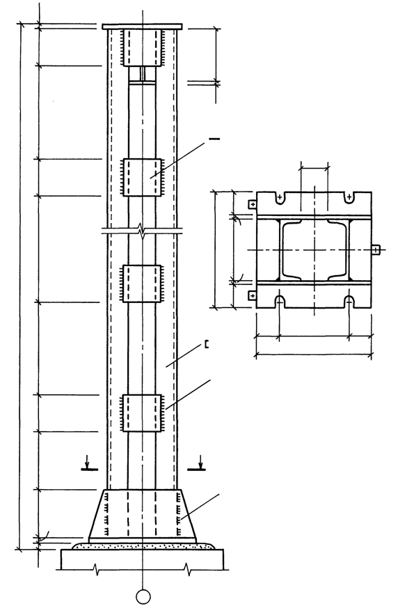
Металлическая колонна
Колонна К-1 - Фрилансер Иван Нагаев Attivo - Портфолио - Работа #2767650
Стойка под трубопровод 20т - Чертежи, 3D Модели, Проекты, Металлоконструкции
Платформенные мезонины (мезонины на колоннах) - ООО "Евро Склад"
Опорный Столик Колонны - 66 фото
Металлическая колонна
Установочный чертеж разъединителя РГП1 в формате DWG
РД 39-0147103-378-87 Инструкция по ремонту железобетонных предварительно напряже
Двутавровая колонна - Чертежи, 3D Модели, Проекты, Металлоконструкции
Стойка опорная для поддержки трубопроводов - Чертежи, 3D Модели, Проекты, Металл
Монтаж каркаса металлоконструкций и кровельного покрытия гаражно-складского комп
Фотографии на стене сообщества - Фотография 1 из 80 ВКонтакте
Pin on решения Diagram, Floor plans, Visualizations
Расчет и конструирование центрально-сжатой колонны.
Купить колонны металлические за 23 100 руб., металлоконструкция в Москве оптом п
Изготовление и монтаж металлоконструкций, производство в Беларуси - Компания УЧП
Стойка 2CS пол + кронштейн WK
Металлические конструкции рабочей площадки. Курсовая работа (т). Технология маши
Библиотека технической документации
Узел сопряжения металлической колонны трубчатого сечения с двутавровой балкой
Чертежи металлоконструкций в Омске
Чертеж металлической колонны dwg
Сварка опоры стойки для радиоантенны класса "DECT" чертежи и ПЗ
ОПСК Строительные конструкции, работающие на сжатие. Стальные колонны
Удлинение колонны
Рисунки 4-11.": рисунок из статьи "Опорные плиты колонн" ARHPLAN.ru
Стр.черчение Мет.конструкции
Лестница на второй этаж своими руками - инструкция
Фундаменты стойки: найдено 88 изображений
Колонн двухветвевых цельных в стаканы фундаментов - 95 фото портал мастеров webd
Лестница на второй этаж своими руками - инструкция
Удлинение колонны
5.4.3. Соединение поясов балки со стенкой
Стр.черчение Мет.конструкции
Кмд чертежи что это металлоконструкций фото и видео - avRussia.ru
Расчёт и проектирование плоской крановой фермы L=100м - Чертежи, 3D Модели, Прое
и металлические колонны - Студопедия
Чертежи опор трубопроводов dwg
Конструкция стоек опор - найдено 77 фото