Смотреть видео: Стартер ваз 2110 чертеж гост

1
БУЛСТАРТ Сливен
необхідно накреслити стартер, скільки це буде коштувати? 2013 Швидке вирішення в
ООО "Прамо-Электро", производство автомобильного и моторного оборудования
Первая поломка и первая доработка - Lada 11113 Ока, 0,7 л, 2004 года тюнинг DRIV
Фото раздела Новости: Стартер 5122.3708000. Схема
стартер 94.3708 (не пригодился) - Lada 21051, 1,2 л, 1987 года запчасти DRIVE2
Buy Starter Drawing
Клуб любителей автомобиля ГАЗ-3102 * Просмотр темы - теперь и на 402 есть старте
Проектирование ремонтной мастерской и технологический процесс восстановления кол
Чертеж стартера автомобиля
БАТЭ Стартер 1111.3708000
Фото раздела Новости: Стартер 2109.3708010-01. Схема
Электростартеры
Чертеж реле в компасе
Стартер ВАЗ 2110 (Чертежи) TOXA32
18b2110ca125e5d0ea49f4b6840829f57ff7acbb 18B
Checking the starter on the stand (Chevrolet Niva 1 2002-2016: Electrical equipm
установка стартера Magneton(Чехия) модели 9141430 для ВАЗ-2110 на ОКУ ВАЗ-1111 -
Поиск оптимального способа ремонта задней крышки стартера ВАЗ Курсовая работа
Стартер ВАЗ-2110 (Чертеж № 216: список деталей, стоимость запчастей). Каталог 20
4. Замена стартера Оки на стартер от Ваз 2110 КАТЭК - Lada 11113 Ока, 0,7 л, 200
Стартер (11) ВАЗ-2110 (Чертеж № 212: список деталей, стоимость запчастей). Катал
Стартер (11) ВАЗ-2110 (Чертеж № 217: список деталей, стоимость запчастей). Катал
Чертеж стартера
Сборка мотора Ч.2. Стартер от ВАЗ 2110 на оку. Крабюратор - Lada 11113 Ока, 0,7
Онлайн конвертер чертежей компас
Богдан 2110 - Гид по машинам
Стартер ВАЗ-2110 (Чертеж № 199: список деталей, стоимость запчастей). Каталог 20
Стартер (11) ВАЗ-2110 (Чертеж № 200: список деталей, стоимость запчастей). Катал
Стартер (11) ВАЗ-2110 (Чертеж № 200: список деталей, стоимость запчастей). Катал
Стартер ВАЗ 1118
Стартер ВАЗ-2110 (Чертеж № 199: список деталей, стоимость запчастей). Каталог 20
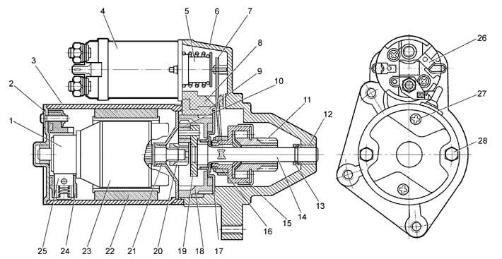
СТАРТЕРЫ АВТОМОБИЛЕЙ ВАЗ - КОНСТРУКЦИЯ, ЭЛЕКТРИЧЕСКИЕ СХЕМЫ " Портал инженера
Купить Реле втягивающее vsr01081 Startvolt цена в интернет-магазине Автопитер
Bendix starter motor for LADA NIVA
Стартер 03.2010 →
Стартер ВАЗ-2108 (Чертеж № 156: список деталей, стоимость запчастей). Каталог 20
Стартер для ВАЗ-2105
Стартер ВАЗ . Каталог запчастей с ценами