Смотреть видео: Схема двухпутной автоблокировки постоянного тока

Двухпутная автоблокировка постоянного тока с прожекторными светофорами для участ
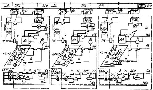
Автоблокировка и переездная сигнализация
СЦБИСТ - железнодорожный форум, блоги, фотогалерея, социальная сеть - Показать с
Автоблокировка постоянного тока
Работы связанные с ремонтом или заменой кабеля автоблокировки а также заменой ре
ДВУХПУТНАЯ АВТОМАТИЧЕСКАЯ БЛОКИРОВКА С ОДНОСТОРОННИМ ДВИЖЕНИЕМ ПОЕЗДОВ - Мои ста
Принципы построения автоблокировки
Однопутная автоблокировка постоянного тока
Двухпутная автоблокировка постоянного тока с линзовыми светофорами для участков
СЦБИСТ - железнодорожный форум, блоги, фотогалерея, социальная сеть - Глупые воп
Двухпутная кодовая автоблокировка переменного тока 25 Гц с двусторонним движение
Двухпутная автоблокировка постоянного тока с линзовыми светофорами для участков
Однопутная автоблокировка переменного тока
Для изменения направления движения в схеме числовой кодовой автоблокировки служи
Однопутная автоблокировка переменного тока
Двухпутная кодовая автоблокировка переменного тока с двусторонним движением поез
Принципиальные схемы сигнальных установок автоблокировки
ТМП= Двухпутная кодовая автоблокировка АБ-2-К-50-АТ-82 - СЦБИСТ - железнодорожны
Двухпутная комплексная система автоблокировки
Основные принципы построения автоблокировки переменного тока. Дипломная (ВКР). Т
Схема увязки перегонных устройств со станционными устройствами - Оборудование дв
Переездная сигнализация для участков с двухпутной автоблокировкой постоянного то
Кодирование участков приближения и удаления в системе АЛСН числового кода
Двухпутная кодовая автоблокировка переменного тока с двусторонним движением поез
СЦБИСТ - железнодорожный форум, блоги, фотогалерея, социальная сеть - Московская
Глава VII. Схемы двухпутной автоблокировки с автоматической локомотивной сигнали
Основные принципы построения автоблокировки переменного тока. Дипломная (ВКР). Т
Схема сигнальной установки - Схемы 2
Фазочувствительные рельсовые цепи, страница 4
Двухпутная комплексная система автоблокировки