Смотреть видео: Сборочный чертеж коленвала ротакс 600

Коленвал двигателя СМД-60, 62, 64 Техдиплом
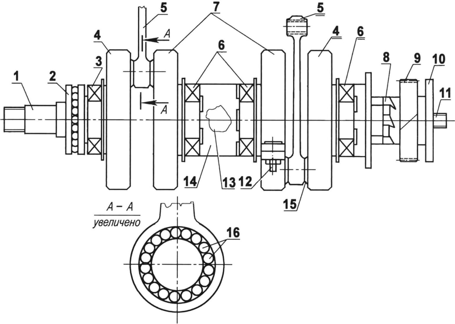
Коленвал КамАЗ-740.10 Техдиплом
Схема коленчатый вал: Схема коленчатого вала
Expanded Information - SB-912-064/914-045 - YouTube
Rotax 912 914 Ul Engine Crankshaft Piston Cylinder Sprag Clutch Aircraft Spruce
Rotax 912 iS Engine Crankshaft Piston Cylinder Sprag Clutch Aircraft Spruce
Чертеж коленчатого вала зил 130
Автомобильная отрасль - учебные проекты ВУЗов скачать - Чертежи.РУ
Продам новый коленвал на снегоходы BRP Ski Doo с двигателем Rotax 800 R P-Tek /E
Коленвал 420890971 (420888757, 420888759, 420890970) SKI-DOO 600 (ROTAX 593) куп
Чертеж "Коленвал автомобиля ВАЗ"
РОТАКС 503 (1999 год выпуска) - YouTube
09-785 Поршень в сборе SPI BRP Ski-doo / Lynx Rotax 593 420889173 в наличии. Инт
Чертежи на заказ в Новосибирске ВКонтакте
Rotax-582 Страница 24 REAA
Технология восстановления коленвала двигателя Д-240 - Чертежи, 3D Модели, Проект
ROTAX 945-759 LOCK WASHER 22 Aircraft Spruce
БУРАН" ПЛЮС Замена штатного двигателя МОДЕЛИСТ-КОНСТРУКТОР
Детали двигателя Rotax - Mora Racing
Сборка ROTAX 503 - YouTube Music
Коленвала чертеж: Рабочий чертеж коленвала автомобиля Скачать чертежи, схемы, ри
SKI-DOO/BRP
КШМ двигателя СМД-60, 62, 64 Техдиплом
Коленвал РМЗ-640 - Чертежи, 3D Модели, Проекты, Детали и узлы автомобилей
Live) Болячки 552 ROTAX Про isoflex и не только - YouTube
Картинки РАЗМЕРЫ КОЛЕНЧАТЫХ ВАЛОВ ВАЗ
Чертеж коленчатого вала компрессора для накачки шин автомобиля ГАЗ 66-11 - Черте
Двигатель РМЗ-500 Страница 22 REAA
Коленвал в сборе для снегоходов BRP LYNX/Ski-Doo Оригинал, новый, в наличии. Цен
Коленчатый вал чертеж с размерами фото Shkola-2.ru
Коленчатый вал чертеж с размерами фото Shkola-2.ru
Rotax 503 Ul Engine Crankcase Parts Aircraft Spruce
Ремонт коленвала кривошипно-шатунного механизма двигателя Д-37, дефекты 3, 5, 8
Ява Jawa - Форум onliner.by
Картинки РАЗМЕРЫ КОЛЕНВАЛА Д 240
Неактивно
Рабочий чертеж коленчатого вала ДВС МЕМЗ-307
Ответы Mail.ru: Помогите кто сможет написать спецификацию КШМ ДВС ВАЗ-21213
Запчасти к двигателю РМЗ-550 - buran99.ru
Find Rotax 503 crankshaft in Farmington, Illinois, United States, for US $150.00