Смотреть видео: Самоделки руками со схемами и чертежами

Рычажное ружье - Оружейная мастерская - APOX.Ru
АЭРОСАНИ ИЗ ЛЕСНОГО КРАЯ МОДЕЛИСТ-КОНСТРУКТОР
Я МЕХАНИК! САМОДЕЛЬНЫЕ АЭРОСАНИ С АЭРОРУЛЯМИ + ЧЕРТЕЖИ!!! Изготовлению самодельн
Энциклопедия Технологий - Минимотоцикл из мопеда
Арбалет (фото подсказки) Арбалет, Снаряжение для выживания, Браслеты для выживан
Homemade bick alarm, a spinner and a lighthouse for baiting your own hands With
ПАШЕТ МОТОЛЕБЕДКА МОДЕЛИСТ-КОНСТРУКТОР
МОТОБЛОК-ГРУЗОВИЧОК МОДЕЛИСТ-КОНСТРУКТОР
Чертеж станка для гибки труб Станок, Листогиб, Винтаж инструменты
Трубогиб своими руками: разбор конструкций, чертежи, таблицы размеров Домашние м
Микро трактор Амурчонок " Полезные самоделки ✔ тысячи самоделок для всей семьи
Арбалет : Пневматическое оружие
Каракат своими руками чертежи и схемы
Sani-samokats with their own hands #ретро Description by link: https://eurosamod
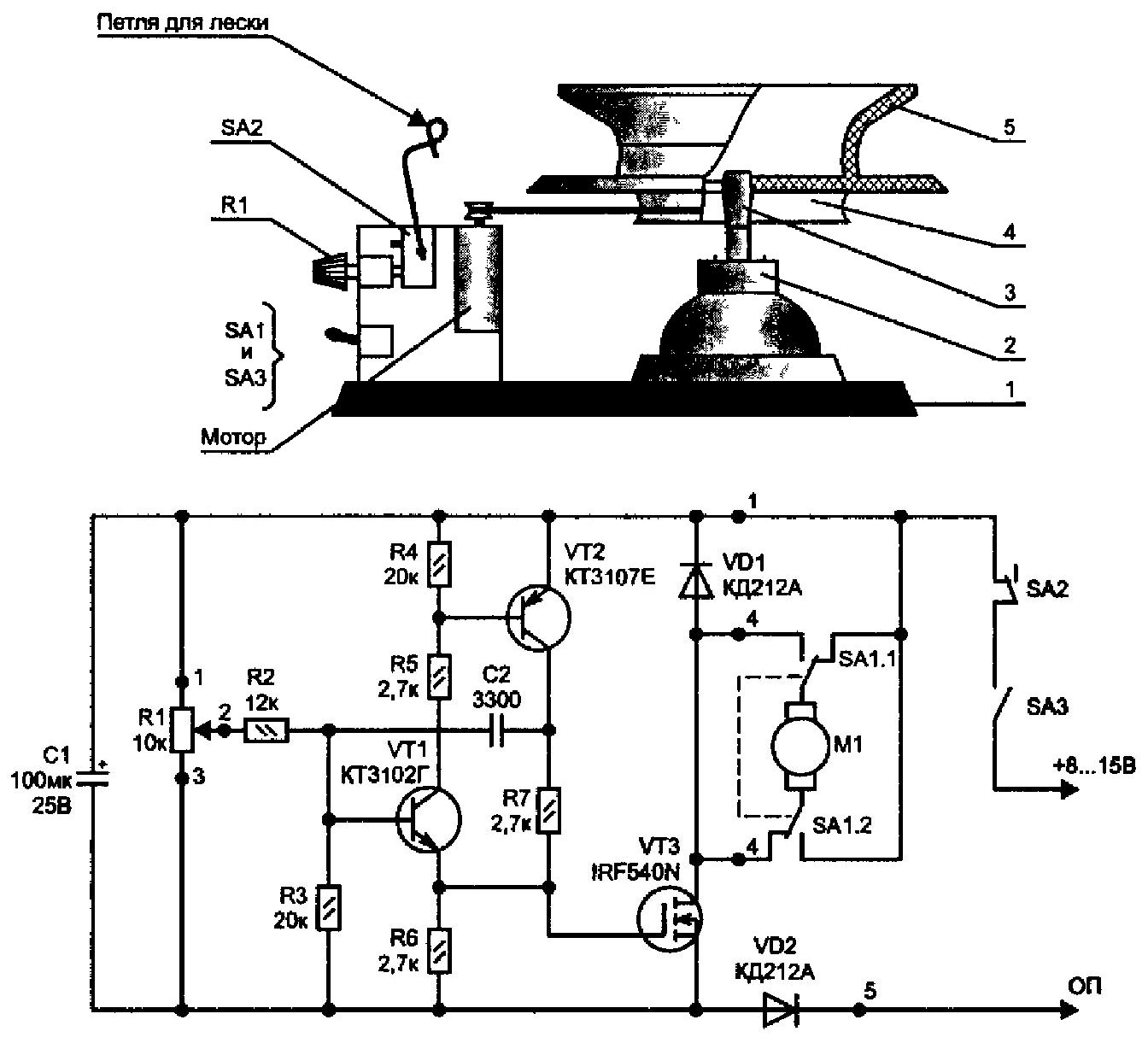
Самоподсекатель для спиннинга своими руками. Подсекатель для донной удочки. Авто
Самодельный трубогибочный станок - чертеж Чертежи, Инструмент, Проекты
МИНИ-МОКИК: ШКОЛА КОНСТРУИРОВАНИЯ МОДЕЛИСТ-КОНСТРУКТОР
Самоделки своими руками схема
Мини трактора - самоделки для помощи
Самоделки для рыбалки своими руками со схемами и чертежами - Фотоподборки 1
Игрушки и поделки своими руками - Детские игрушки Поделки, Детские игрушки, Черт
Post #2333 - найдено в даркнете (S6fbC1uvCK0yOTYy)
Pinterest Fun, Survival, Diagram
Конструкция тележки для подъема грузов на этажи своими руками. Tool room, Timber
Стол со скамейкой своими руками чертежи Изделия из деревянных поддонов, Стол для
Картинки АРБАЛЕТ СВОИМИ РУКАМИ ЧЕРТЕЖИ
Арбалет из дерева своими руками схема
МОТОЦИКЛ ВОДНЫХ ПРОСТОРОВ МОДЕЛИСТ-КОНСТРУКТОР
Мини-трактор с "ломающейся" рамой Трактор, Багги для езды по песку, Чертежи
Самоделки руками со схемами и чертежами: найдено 89 картинок
Самоделки руками со схемами и чертежами: найдено 89 картинок
Делаем сами - своими руками.: Фото информация чтоб сделать токарный станок по де
Веломобиль своими руками (+ фото, видео)
Самоделки для рыбалки своими руками со схемами и чертежами - Basanova.ru
Чертежи ветрогенератора. Изготовление самодельного ветряка. Устройство ветрогене
Стол и лавки для беседки своими руками размеры и чертежи - Наша недвижка, наш до
Pin on Pancing in 2024 Blueprints, Fish
Как сделать деревянное кресло своими руками - чертеж удобного дачного кресла " М
Самоделки руками со схемами и чертежами: найдено 89 картинок
Как сделать складной столик для пикника своими руками: инструкция