Смотреть видео: Мурано z50 где находится блок trc

Nissan Murano Не Работает Центральная Консоль - По иномаркам - Автомобильный Пор
Предохранитель фар ниссан мурано z50
Снятие правой подушки (опоры) двигателя VQ35DE на Nissan Murano Z50 - Nissan Mur
Сброс ошибок ниссан мурано z51 - фото - АвтоМастер Инфо
Запчасти для вариатора (CVT) JF010E RRE0F09B Nissan Murano
Авто Мечты" - Чип-тюнинг и прошивка Nissan Murano с бензиновыми и дизельными дви
Где расположен блок комфорта BCM? - Nissan Murano II, 3,5 л, 2008 года своими ру
63760 ключ блок управления иммобилайзер nissan мурано z50 03 - купить бу Z182616
Диодная подсветка заднего номера updated2 - Nissan Murano II, 3,5 л, 2014 года с
Замена предохранителей Мурано
Nissan Murano Z50 - предохранители и реле Nissan Murano Сибирь Дзен
Relay / control equip для Nissan MURANO Z50, год: 2002 - 2003. OEM запчасти - Ме
блоки предохранителей 1 мурано z50 автоэлектрик
2wd в Murano Z51, реально? - Сообщество "Club Nissan Murano" на DRIVE2
Блок предохранителей пустые разъёмы... Подскажите!
Кнопка 2wd\4wd. Версия 2. Juke edition - Nissan Murano I, 3,5 л, 2006 года элект
Учимся прозванивать проводку вариатора Jatco RE0F09A (RE0F10A, JF011E) Часть 3 и
замена блока SRS (блок подушек) на Hyundai Santa Fe (3rd generation) 2014 - DRIV
Вариатор.3 - Nissan Murano I, 3,5 л, 2003 года своими руками DRIVE2
Тюнинг ниссан мурано z50 - КарЛайн.ру
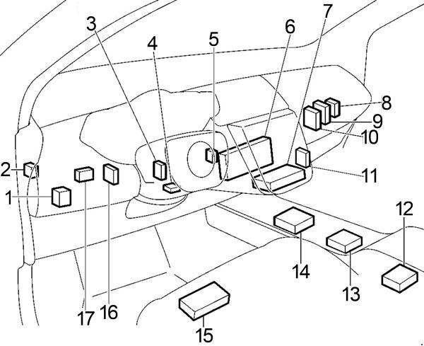
Схема расположения предохранителей и реле на Nissan Murano Z50 - Опыт эксплуатац
Продам блок комфорта для Ниссан Мурано z50 - купить в Волжском, цена 3 000 руб.,
Обдув салона - Nissan Murano I, 3,5 л, 2006 года своими руками DRIVE2
Замена предохранителей Мурано
Морозы - Nissan Murano II, 3,5 л, 2012 года электроника DRIVE2
Замена предохранителей Мурано
Сброс ошибок ниссан мурано z51 - фото - АвтоМастер Инфо
Картинки ПРЕДОХРАНИТЕЛИ НИССАН МУРАНО Z51
Снятие центральной консоли на Nissan Murano - FAQ Nissan Murano (Ниссан Мурано)
Блок всм на ниссан мурано - купить по низкой цене на Яндекс Маркете
Схема предохранителей мурано
Обдув салона - Nissan Murano I, 3,5 л, 2006 года своими руками DRIVE2
Ремонт) Блок управления SRS - Infiniti FX (1G), 3,5 л, 2005 года электроника DRI
Блок всм на ниссан мурано - купить по низкой цене на Яндекс Маркете
Сброс ошибок ниссан мурано z51 - фото - АвтоМастер Инфо
Ниссан мурано расположение цилиндров LkbAuto.ru
Murano
Часть 19 (18+) Сборка системы SRS - Nissan Murano I, 2,5 л, 2004 года своими рук
Морозы - Nissan Murano II, 3,5 л, 2012 года электроника DRIVE2
Снятие центральной консоли на Nissan Murano - FAQ Nissan Murano (Ниссан Мурано)