Смотреть видео: Микросхема к174ха34 описание и схема включения



Микросхема к174ха34 описание и схема включения

Микросхема к174ха34 описание и схема включения
Форум РадиоКот :: Просмотр темы - УКВ-ЧМ тюнер на К174ХА34 (TDA7021)
Микросхема к174ха34 описание и схема включения
УКВ-ЧМ тюнер на К174ХА34 (TDA7021)
Микросхема к174ха34 описание и схема включения
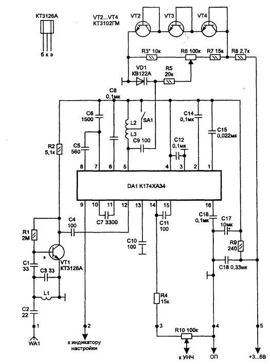
К174Ха34 схема включения: К174ХА34 - ЧМ-тракт радиоприемного устройства - DataSh
Микросхема к174ха34 описание и схема включения
Схемы фм приемников на микросхемах к174ха34
Микросхема к174ха34 описание и схема включения
Схема УКВ приемника на микросхеме К174ХА34 Радио, Схемотехника, Радиолюбитель

Микросхема к174ха34 описание и схема включения
Приемник на к174ха34 схема
Микросхема к174ха34 описание и схема включения
Двухдиапазонный УКВ/FM приемник на К174ХА34
Микросхема к174ха34 описание и схема включения
Укв приемник на к174ха34: УКВ ЧМ приемник на К174ХА34 - RC74 - интернет-магазин
Микросхема к174ха34 описание и схема включения
Справочный листок. Микросхема к174ха34. 2019 Мастерская ТехноПрофи (схемы и ремо
Микросхема к174ха34 описание и схема включения
УКВ приемник на микросхеме К174ХА34 (TDA7021)
Микросхема к174ха34 описание и схема включения
Схемы фм приемников на микросхемах к174ха34
Микросхема к174ха34 описание и схема включения
Схема двухдиапазонного приемного тракта на К174ХА34 " S-Led.Ru - Светодиоды и эл
Микросхема к174ха34 описание и схема включения
Форум РадиоКот * Просмотр темы - УКВ-ЧМ тюнер на К174ХА34 (TDA7021)
Микросхема к174ха34 описание и схема включения
УКВ FM приемник с электронной настройкой на микросхеме К174ХА34 (TDA7021)
Микросхема к174ха34 описание и схема включения
Схема FM приемника на микросхеме К174ХА34
Микросхема к174ха34 описание и схема включения
Радиоконструктор № 003, УКВ/FM радиоприёмник на микросхеме К174ХА34 (TDA7021) - Товар на картинке можно купить.
Микросхема к174ха34 описание и схема включения
К174ХА36Б - Микросхемы для Радио и ТВ - МИКРОСХЕМЫ - Электронные компоненты (кат
Микросхема к174ха34 описание и схема включения
Двухдиапазонный приемный тракт на К174ХА34 - rcl-radio.ru
Микросхема к174ха34 описание и схема включения
Фм приемник на к174ха34 на варикап кв109в: Простой УКВ приемник на микросхеме К1
Микросхема к174ха34 описание и схема включения
Микросхема к174ха2 описание и схема включения
Микросхема к174ха34 описание и схема включения
КР174ХА34АМ - интегральная схема УКВ приемника с ЧМ (аналог МС7021) - rcl-radio.
Микросхема к174ха34 описание и схема включения
Контент STEN50 - Страница 423 - Форум по радиоэлектронике
Микросхема к174ха34 описание и схема включения
Форум РадиоКот * Просмотр темы - Приемник на К174ХА42 (TDA7000, КС1066ХА1)
Микросхема к174ха34 описание и схема включения
Форум РадиоКот * Просмотр темы - УКВ-ЧМ тюнер на К174ХА34 (TDA7021) Радиостанция
Микросхема к174ха34 описание и схема включения
К174УК1 - устройство регулировки яркости, контрастности, насыщенности и формиров
Микросхема к174ха34 описание и схема включения
К174ХА28, КБ174ХА28-4 - декодеры сигналов цветности по системе PAL - DataSheet
Микросхема к174ха34 описание и схема включения
К174ХА42 однокристальный ЧМ радиоприемник Лучшие радиолюбительские схемы
Микросхема к174ха34 описание и схема включения
К174ХА6 - Микросхемы для Радио и ТВ - МИКРОСХЕМЫ - Электронные компоненты (катал
Микросхема к174ха34 описание и схема включения
Форум РадиоКот * Просмотр темы - УКВ-ЧМ тюнер на К174ХА34 (TDA7021)
Микросхема к174ха34 описание и схема включения
РадиоКот :: УКВ приемник на одной микросхеме (К174ХА42) Электроника
Микросхема к174ха34 описание и схема включения
РадиоКот :: УКВ приемник на одной микросхеме (К174ХА42) Электроника
Микросхема к174ха34 описание и схема включения
Схема приемника на микросхеме к174ха4201б
Микросхема к174ха34 описание и схема включения
К174ха10 схема приемника - Basanova.ru
Микросхема к174ха34 описание и схема включения
К174ХА11 - БИС для управления строчной и кадровой развертками - DataSheet
Микросхема к174ха34 описание и схема включения
УКВ-ЧМ приемник на микросхеме КР174ХА34А с питанием от USB
Микросхема к174ха34 описание и схема включения
Приемник на к174ха34 схема
Микросхема к174ха34 описание и схема включения
Микросхемы для радиоприемников, TDA7021T (TDA7020T) Радиолюбитель - это просто!
Микросхема к174ха34 описание и схема включения
Микросхема к174ха34
Микросхема к174ха34 описание и схема включения
Радиоприемное устройство AM сигналов на микросхемах К174
Микросхема к174ха34 описание и схема включения
К174ха10 описание и схема включения - Фото подборки 2