Смотреть видео: Калитка своими руками фото чертежи

Как изготовить калитку металлическую своими руками с кованными элементами для за
Gate "Zen" 1x2 from a metal profile pipe (120734): buy, price, photo - Dnipro, K
Калитки и ворота купить - недорого: цена, характеристики
КАЛИТКА МЕТАЛЛИЧЕСКАЯ купить в Екатеринбурге по низкой цене от Компании Прометей
Металлическая калитка своими руками: технология изготовления
Ворота и калитки из профнастила, сетки рабицы и 3D-сетки
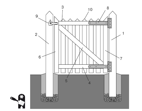
Калитка из дерева своими руками пошаговая инструкция
Замок для калитки из профнастила: выбор, установка
Калитка из профнастила своими руками: как сделать и установить, фото, видео и че
Schemes of Gate https://t.me/Akademy111 2023 Академия ремонта 100 % мужик VK
Калитка для забора купить, цена в Москве Установка металлических калиток под клю
Калитка (79 фото): как сделать универсальные модели из профнастила, варианты из
Калитка для забора из профильной трубы своими руками фото - ViktoriaFoto.ru
Установка калиток в Москве - цены на монтаж калиток под ключ - Заборкин
Schemes of Gate https://t.me/Akademy111 2023 Академия ремонта 100 % мужик VK
Калитка своими руками: чертежи и схемы
ООО Статус - Ремонт и строительство, Фасадные работы, Ремонт и установка окон и
Калитка из профнастила серии ЭКО, купить в Санкт-Петербурге, размер
#стройсам #строим #строитель #severnyby #самстрой With your hands. Here, the dea
Калитка своими руками с элементами ковки - DRIVE2
Как сделать ворота из профильной трубы -Статьи
Daniel Forward (danielf0436) - Profile Pinterest
Pin on Быстрое сохранение in 2024 Utility pole, Metal
Ворота и калитка для дачи - как они изготавливаются и устанавливаются
Как сделать калитку из профнастила своими руками: Пошаговая инструкция и материа
Калитка из дерева своими руками пошаговая инструкция
Калитка из профильной трубы: создание и монтаж
Как сделать калитку и ворота из профлиста - Ателье Фасадов
Steel Pedestrian Gate - PRAGUE Style - 5 ft - ALEKO Wrought iron gate designs, W
Распашные ворота чертежи с размерами фото - DelaDom.ru
Калитки для забора металлические - купить в Тамбове для частного дома, распашные
Установка калиток в Москве - цены на монтаж калиток под ключ - Заборкин
Как сварить ворота из профильной трубы своими руками Ворота, Деревянные ворота,
Калитка из профнастила своими руками: как сделать и установить, фото, видео и че
Как изготовить и установить ворота для забора из профнастила своими руками - Пол
Читать онлайн книгу Забор, ограда, калитка на дачном участке. Строим своими рука
Калитка для забора (30 фото): универсальное изделие и металлические модели ворот
Driveway Gates Heavy Duty Fully Framed And Treated - $159.99 Wood gates driveway
Ворота и калитки садовые Канат СТД - Сетка рабица от производителя, гвозди, элек
дверь садовая деревянная. - Двери и арки - Мастеровой