Смотреть видео: Как поменять топливный фильтр на погрузчике

Перейти на страницу с картинкой
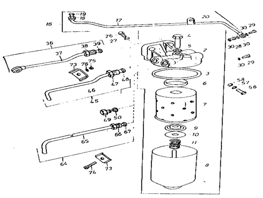
Сепаратор воды и топливный фильтр двигателя экскаватора-погрузчика JCB 3CX, JCB
Как часто необходимо менять масло и фильтры в спецтехнике
home TBF Thompson Group
Элементы контроля и управления в кабине погрузчика ANT1000.01
SDLG фильтры / Вся Сибирь
Сделай сам: Замена топливного фильтра на дизельном Паджеро4 - Mitsubishi Pajero
Топливный фильтр : Запчасти для вилочных погрузчиков
Станция технического обслуживания автомобилей в Энгельсе: 62 мастера по техничес
Замена топливного фильтра Volkswagen Polo седан
Замена топливного фильтра с установкой быстросъемов - Zotye Z300, 1,5 л, 2013 го
Toyota Corona, Carina, Camry, Caldina, Corolla - Замена топливного фильтра - You
Техническое обслуживание Case SV185 SR150 SR200 SV250 на 250, 500 и 750 часах (з
Как быстро прокачать топливо на экскаваторе-погрузчике JCB - YouTube
JCB 3CX подсос воздуха через фильтр грубой очистки 32/925735 - DRIVE2
Замена топливного фильтра в vag-servise, в Минске
Техническое обслуживание Chevrolet Lacetti на 90 000 км пробега
53C0576, топливный фильтр, погрузчик Liugong CLG856, Технокомплект, Киев, Украин
Замена топливного фильтра в автосервисе Правый Поворот
Тишина в салоне. Новый бензонасос, сеточка и фильтр - Chevrolet Lacetti Sedan, 1
Замена топливного фильтра Hyundai Solaris
Замена топливного фильтра в Санкт-Петербурге - Цены в автосервисе Доктор Железны
Замена топливного фильтра - KIA Spectra, 1,6 л, 2007 года плановое ТО DRIVE2
Как поменять топливный фильтр на фольксваген поло - 84 фото
Техническое обслуживание и ремонт топливной системы. Замена патрубка бензобака(з
Замена проточного топливного фильтра UniversalService24
ТО-1 или есть над чем подумать. - DRIVE2
Поменял топливный фильтр, меня порадовало. - DRIVE2
Замена топливного фильтра нива шевроле 2016г - КарЛайн.ру
Замена фильтра грубой очистки на ВАЗовский - УАЗ 31512, 2,4 л, 1994 года своими