Смотреть видео: Диафрагма дюкаревых изготовление чертеж

Диафрагма дюкаревых изготовление чертеж - TouristMaps.ru
Диафрагма для улья своими руками: 10 понятных моделей
Универсальная диафрагма улья. - YouTube
Диафрагмы Аврора ООО
Изготовление деталей по чертежам - изготовление деталей ООО "ИЗГОТОВИЛ.РУ"
Стандартная диафрагма - YouTube
КБ Дизайн чертежи, схемы, 3d моделирование на заказ
Изготовление деталей по чертежам - изготовление фланцев ООО "ИЗГОТОВИЛ.РУ"
Изготовление деталей по чертежам - изготовление скребка, блока, основания ООО "И
Камерная диафрагма ДКС-250 - Чертежи, 3D Модели, Проекты, Метрология (МСС)
Make an Awesome Mechanical Iris Iris, Crafts, Diy pattern
Изготовление деталей по чертежам: изготовление шнеков ООО "ИЗГОТОВИЛ.РУ"
Iris Diaphragms Mechanical design, Iris, Wall clock design
Воздушная диафрагма
Диафрагма бескамерная ДБС купить, стоимость ГАЗПРОМЭНЕРГО
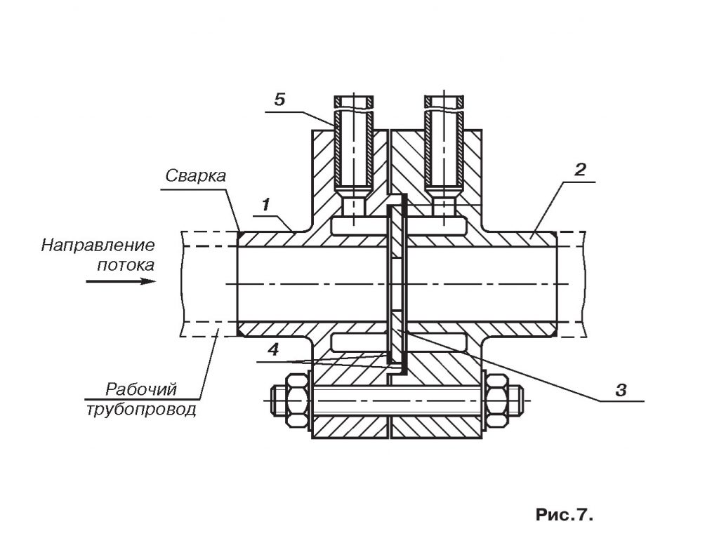
Измерительная диафрагма
Ирисовая диафрагма чертеж
Решетка для улья
Диафрагма бескамерная
Купить Диафрагмы для расходомеров от 12 821 СКИДКИ
Диафрагма иннервируется - найдено 88 фото
Диафрагма тонкая внутренняя - найдено 89 фотографий
Фото подборка - ДИАФРАГМУ И ПРЕСС
Фото КРЕПЛЕНИЕ ДИАФРАГМЫ
Диафрагма урал
Close an iris diaphragm completely. #aperture #IrisDiaphragm Iris, Mechanic, Bub
Картинки МЕХАНИЗМ ДИАФРАГМЫ
Что проходит через диафрагму
Что проходит через диафрагму
КАК ЛЕГКО СПАСТИ СЛАБЫЕ СЕМЬИ , ДИАФРАГМА ДЮКАРЕВЫХ. - смотреть онлайн в поиске
Sony FE 24mm F1.4 GM Lens Review G Master Quality In Lightweight Form
Картинки ОРГАНЫ ВЫШЕ ДИАФРАГМЫ
File:Diaphragm iris types.svg Mechanical design, Iris, Metal art
Диафрагма дюкаревых изготовление чертеж - TouristMaps.ru
Close an iris diaphragm completely. #aperture #IrisDiaphragm Iris, Mechanic, Bub
Зажим диафрагмы
Выдержка, диафрагма, ISO
Рекомендации по расчету и применению специальных сужающих устройств для измерени
Ответы Mail.ru: Canon 500d не хочет менять значение диафрагмы (вручную) для Юпит
Конструкции диафрагмы: найдено 84 изображений