Смотреть видео: Чертеж редуктора р 7 для вертолетов

Проектирование главного редуктора вертолёта - Тяга несущего винта 35 кН - Чертеж
Проектирование главного редуктора вертолета - Осевая сила, кН FT 20 - Чертежи, 3
Проектирование и расчет редуктора вертолета - Осевая сила Ft=36кН, - Чертежи, 3D
Как устроен РЕДУКТОР ВЕРТОЛЕТА? Рассмотрим чертеж и конструкцию! Весёлый инженер
Главный редуктор вертолета - шесть файлов (Решение → 12127)
Выполняю курсовые проекты редукторов для вертолёта #детмаш #редуктор #чертежи 20
Редуктор вертолетный главный - скачать чертежи бесплатно на Pro4erk.ru
Главный редуктор вертолета u1=2 и u2=5.45 - Чертежи, 3D Модели, Проекты, Редукто
Главный редуктор вертолёта
Редуктор вертолета главный
Редуктор вертолета чертеж фото Shkola-2.ru
Редуктор одноступенчатый uр=3.15 - Чертежи, 3D Модели, Проекты, Редукторы
Крепление главного редуктора.
Курсовая разработка привода с мощностью 6,6 кВт
Реактивные вертолеты Странствия по земле и небу Дзен
Глава-2 ФЮЗЕЛЯЖ ОБЩИЕ СВЕДЕНИЯ - Документ
ВР-14 - МИ-8/17/171/172 - Каталог запчастей для вертолетов - Armada.Ltd
Coaxial Rotor Control
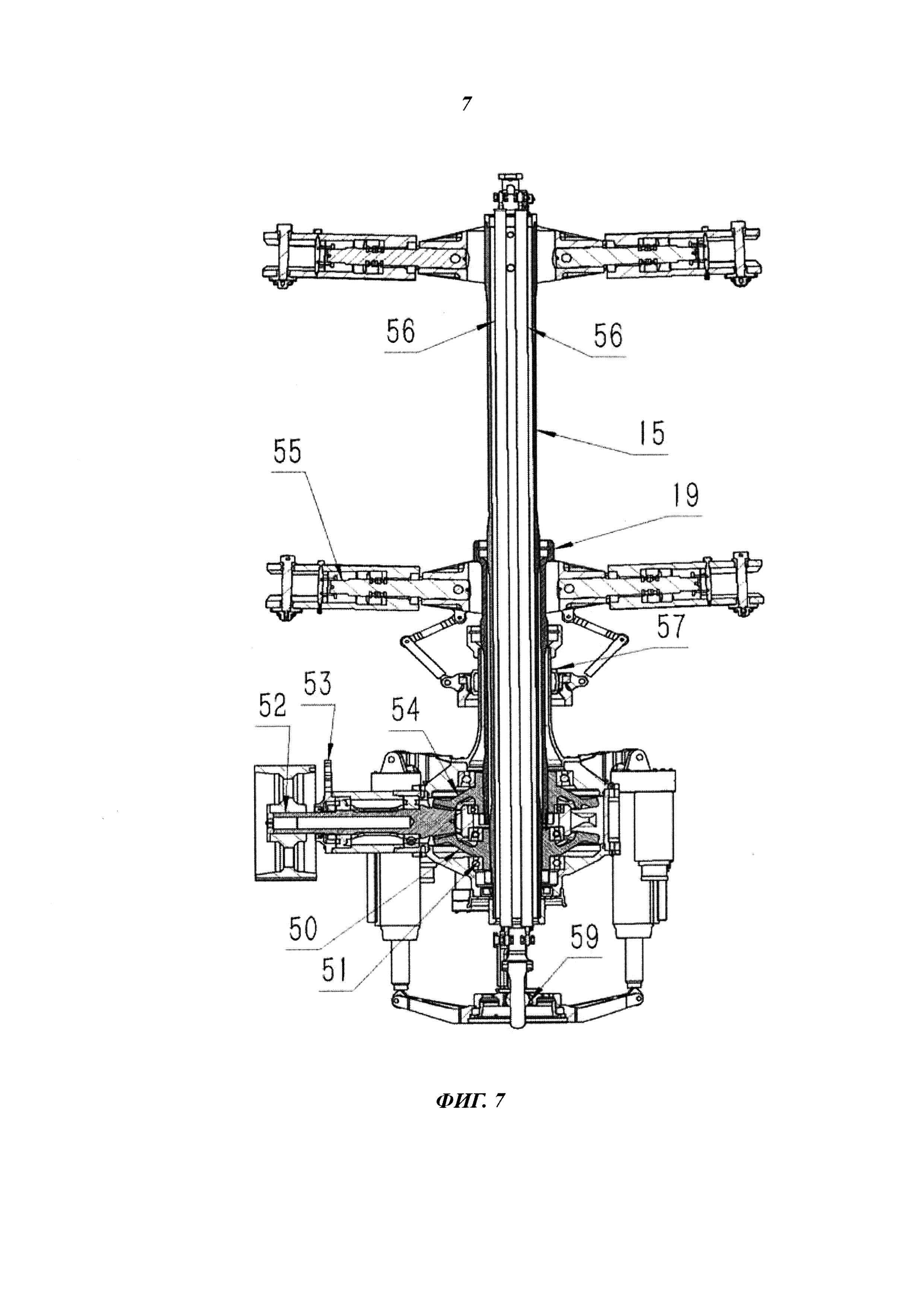
Приводная система несущих винтов RU2641396C2 - Патенты - Росстип
РЕДУКТОР ВЕРТОЛЁТА СООСНОЙ СХЕМЫ. Российский патент 2015 года RU 2541569 C1. Изо
Sextant Blog: 51.) Helicopter - Rotor's Control detail - Hubschrauber - ВЕРТОЛЁТ
Редуктор вертолета ми-8 (57 фото) - красивые картинки и HD фото
Редуктор вертолета чертеж фото Shkola-2.ru
Редуктор вертолета чертеж
Крепление главного редуктора.
Главный редуктор МОДЕЛИСТ-КОНСТРУКТОР
Системы силовых установок. Тема 6 - презентация онлайн
Главный редуктор VR-14 в Казани (Запчасти для вертолетов) - Typhoon-avia (Тайфун
ПРОМЕЖУТОЧНЫЙ РЕДУКТОР ХВОСТОВОЙ ТРАНСМИССИИ ВЕРТОЛЕТА
Трансмиссия вертолета Ми-8 - презентация
Проектирование и расчет редуктора вертолета - Осевая сила Ft=36кН, - Чертежи, 3D
Трансмиссия вертолета Ми-8 - презентация
Авиация и Космонавтика 2017-03
РЕМЕННОЙ РЕДУКТОР ВЕРТОЛЁТА СООСНОЙ СХЕМЫ
Military Aircrafts: Designs and Concepts - Armenian Forum Авиация, Чертежи
РЕМЕННОЙ РЕДУКТОР ВЕРТОЛЁТА СООСНОЙ СХЕМЫ
Nadia, now flying. Ukraine is experiencing the first helicopter of its own produ
12 марта 1965 года был установлен один интересный рекорд ☝ Музей Вертолетов Дзен
ККС редуктора РВ - Энциклопедия по машиностроению XXL
Coaxial Rotor Control