Смотреть видео: Чертеж печи для сауны

Печь для бани своими руками из металла чертежи фото: Печь для бани из металла св
Варианты размещения водогрейных баков на корпусе печки Чертежи, Номера спа, Котё
Печь для мобильной бани своими руками
Печь для бани своими руками из металла чертежи фото: Печь для бани из металла св
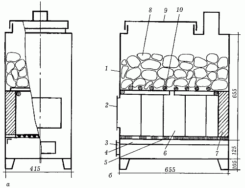
Строим печь-каменку для бани своими руками: инструкция
Печь для бани своими руками из металла чертежи фото: Печь для бани из металла св
Делаем сами - своими руками.: Чертеж классной печки для бани с емкостью для бани
Конструкция банной печи из металла
Pin on БАНЯ(САУНА) Building a sauna, Hot tub outdoor, Diy wood stove
Чертежи печей для бани Жара и Добросталь. Смотрите тут! Банные печи Жара
Печь для бани своими руками - вполне доступно
Чертеж металлической печи для Ремонт, Чертежи
Печь для бани своими руками - вполне доступно
Металлическая печь дровяная для отопления дома и дачи: чертежи и изготовление
Котел для бани своими руками: чертежи, как сварить
Чертежи печей для бани Жара и Добросталь. Смотрите тут! Банные печи Жара
Печь для бани своими руками (кирпичная и металлическая): установка, чертежи, пош
ПЕЧЬ ДЛЯ БАНИ. Российский патент 2009 года RU 2347980 C1. Изобретение по МКП F24
Вертикальная печь для бани из трубы своими руками: инструкция, советы, фото Труб
Банная печь с закрытой каменкой: кирпичная, металлическая, для русской бани; "Ве
Печь для бани своими руками из металла чертежи фото: Печь для бани из металла св
Кирпичная печь для бани своими руками - как сделать +чертежи, фото Печь, Кирпичн
Печь каменка для бани со встроенным баком для воды " Полезные самоделки ✔ тысячи
Печь для бани из трубы своими руками: чертежи для сборки из металла трубы с толс
Какую печь установить в бане - критерии выбора, подробное описание!
Как сделать металлическую печь для бани DOM DOM Дзен
� � � � � � � � � � � � � � � � � � � Механизмы, Картинки, Камин
Чертеж банной печи HeatProf.ru
ПЕЧЬ ДЛЯ БАНИ. Российский патент 2016 года RU 2598274 C1. Изобретение по МКП F24
Печь для бани своими руками из металла чертежи фото: Печь для бани из металла св
Сварочная мастерская Svarim66: записи сообщества ВКонтакте
Ответы Mail.ru: нужен совет по изготовлению печки буржуйки для дачи
Печі для лазні з баком для води своїми руками - Укрбіо
Печь для бани из трубы: плюсы и минусы, особенности, чертежи для изготовления Пе
Печь для бани своими руками из металла чертежи фото: Печь для бани из металла св
Печь для бани своими руками из металла чертежи фото: Печь для бани из металла св
Устройство финской печи 2019 Сантехник на дому (Йошкар-Ола) ВКонтакте
Универсальная печь-каменка . Делаем сами коптильни, грили, мангалы, уличные печи
Печь для бани своими руками из металла чертежи фото: Печь для бани из металла св
Читать онлайн книгу Строительство дачи и построек на участке - Юлия Рычкова бесп